今日(4月3日)A股共33只个股发生大宗交易,总成交5.07亿元,其中达梦数据、芯原股份、恒生电子成交额居前,成交额依次为1.3亿元、8498.95万元、6430.55万元。成交价方面,共9只股票平价成交,4只股票溢价成交,20只股票折价成交;金信诺、建设机械、宏微科技溢价率居前,溢价率依次为17.51%、9.76%、0.74%;富士达、明阳电气、中熔电气折价率居前,折价率依次为29.05%、18.7%、15.03%。机构专用席位买入额排名:长芯博创(1768.5万元)、南风股份(1191.45万元)、芯原股份(1186.54万元)、特发服务(1016.37万元)、盈峰环境(894万元)。机构专用席位卖出额排名:南风股份(1191.45万元)、中际旭创(230.48万元)、温氏股份(227.2万元)。
举报 第一财经广告合作,请点击这里此内容为第一财经原创,著作权归第一财经所有。未经第一财经书面授权,不得以任何方式加以使用,包括转载、摘编、复制或建立镜像。第一财经保留追究侵权者法律责任的权利。如需获得授权请联系第一财经版权部:banquan@yicai.com 相关阅读

杠杆资金本周重仓股曝光 立讯精密居首
杠杆资金本周重仓股曝光 立讯精密居首
54 03-29 21:07

准油股份今日涨停,有3家机构专用席位净卖出5371.75万元
准油股份今日涨停,有3家机构专用席位净卖出5371.75万元
18 03-04 16:36

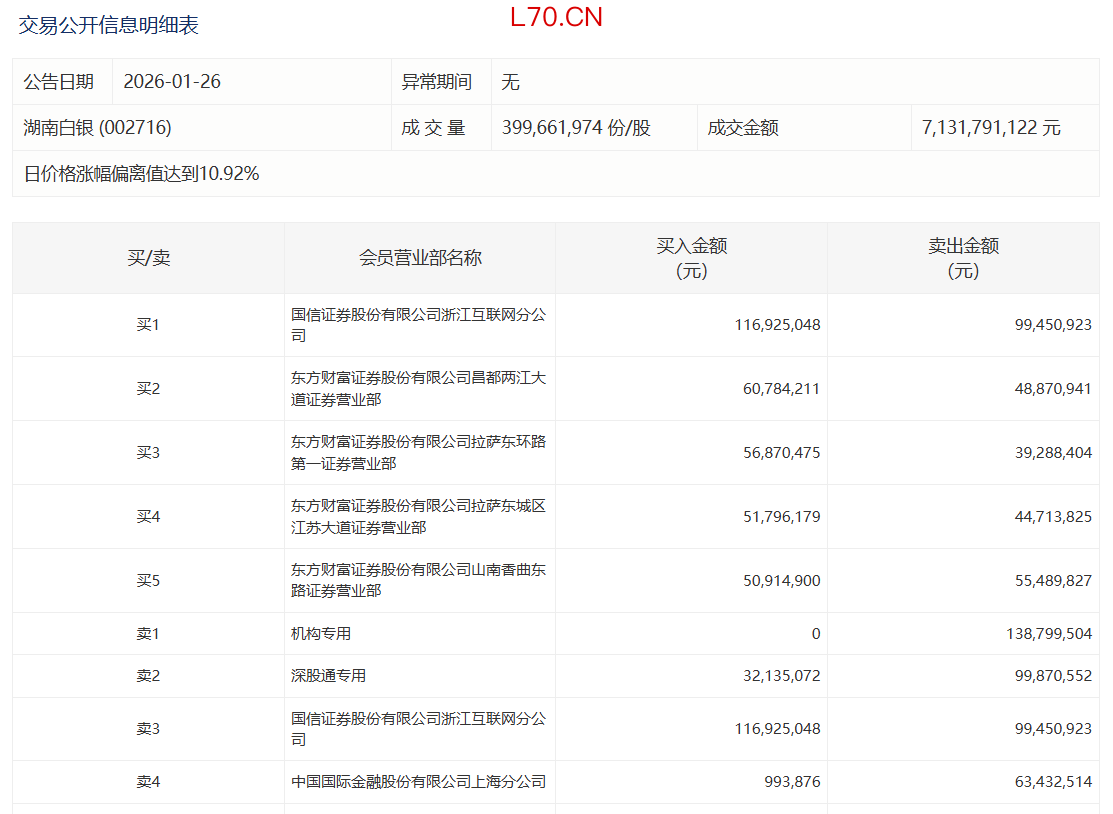
湖南白银今日涨停,有1家机构专用席位净卖出1.39亿元
湖南白银今日涨停,有1家机构专用席位净卖出1.39亿元
16 01-26 16:27

瑞丰达案处罚落定!罚没合计4100万,犯罪线索已移送公安
2024年上半年,瑞丰达实际控制人“跑路”的消息引发各方关注,证监会关注后展开核查,并于5月11日宣布对瑞丰达进行立案调查。
第一财经曾连续刊发《瑞丰达人去楼空,近20名投资者现场维权,浦东经侦查封办公楼》、《突然“跑路”的瑞丰达:重仓新三板公司,股东一个月前接连“撤退”》《“第三方”兜底并承诺8%年收益,瑞丰达“跑路”幕后操盘手浮现》等独家深度报道,揭示了瑞丰达产品4月份就无法兑付并悄然变更股东,兜底保收益销售产品,重仓绩差新三板公司、存在高买低卖异常交易行为等情形,向市场揭示风险,提醒投资者注意防范。
元股证券:ygzq.hk配资炒股 171 01-23 17:09

利欧股份今日跌停熊市抄底风险,3家机构专用席位净买入6930.05万元
利欧股份今日跌停,3家机构专用席位净买入6930.05万元

31 01-21 16:26 一财最热 点击关闭
宁夏配资网提示:本文来自互联网,不代表本网站观点。